Sign In | Join Free | My ecer.com.ru
China Guangzhou Tianhe District Zhuji Fengtu Mechanical Equipment Sales Department logo
Guangzhou Tianhe District Zhuji Fengtu Mechanical Equipment Sales Department
Operating parts: Caterpillar, Perkins, Deutz , Volvo, Yanmar , Kubota, Mitsubishi, Isuzu, Cummins, Komatsu , Doosan ,Hino , Nissan, Bosch, Denso, Zexel , Hitachi, Kobelco, Kato, Hyundai, Daewoo,
Site Member

5 Years

Home > Excavator Main Hydraulic Pump >

1902279 Pump G Engine 190-2279 Ring 9T8647 Pump Group Piston Cylinder Liner 9T-8647

Guangzhou Tianhe District Zhuji Fengtu Mechanical Equipment Sales Department
Contact Now

1902279 Pump G Engine 190-2279 Ring 9T8647 Pump Group Piston Cylinder Liner 9T-8647

Brand Name : Caterpillar

Model Number : 784C, 785C

Certification : 68555435543

Place of Origin : China

MOQ : 1

Price : Price negotiation

Payment Terms : T/T, L/C, Western Union

Supply Ability : 10

Delivery Time : 3-5

Packaging Details : box

model OEM : 784C, 785C

product name : 1902279 PUMP GP-PISTON Caterpillar parts

cross code : CA1902279 190-2279 1902279

other name : Piston Kit

sort : Cylinder Liner

application : Engine Parts

applicable : Excavator Parts

Weight : XX kg.

Contact Now

1902279 PUMP GP-PISTON Caterpillar parts 784C, 785C

Product Description

CA1902279
190-2279
1902279

TRACTOR 784C
TRUCK 785C Caterpillar

785C HAA Off-Highway Truck 5AZ00001-UP (MACHINE) POWERED BY 3516B Engine

  • 5T-0912: PUMP & MTG GP-STEERING » (STEERING) SEBP27880948

PUMP & MTG GP-STEERING

5T-0912 PUMP & MTG GP-STEERING
S/N 5AZ1-UP
PART OF 144-4145 HYDRAULIC AR
Type 3



Information

CATERPILLAR SIS
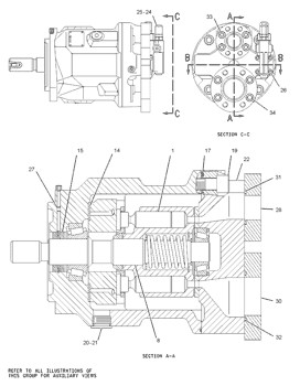
Pos. Part No Qty Parts name Comments
191-0126 [1] ADAPTER
0S-1589 [2] BOLT (5/8-11X1.75-IN)
5S-2201 [2] BOLT-SOCKET HEAD (5/8-11X1.25-IN)
190-2279 Y [1] PUMP GP-PISTON (STEERING)
5F-3999 [2] SEAL-O-RING
5P-8247 [2] WASHER-HARD (17X32X3.5-MM THK)
OEM
1684531 Body A Engine 168-4531 Ring 9T2306 Pump Group Piston Cylinder Liner 9T-2306
1684538 Tube A Engine 168-4538 Ring 9T2306 Pump Group Piston Cylinder Liner 9T-2306
1692969 Piston Engine 169-2969 Ring 9T3680 Pump Group Piston Cylinder Liner 9T-3680
1722353 Piston Engine 172-2353 Ring 9T3680 Pump Group Piston Cylinder Liner 9T-3680
1769273 Piston Engine 176-9273 Ring 9T6857 Pump Group Piston Cylinder Liner 9T-6857
1786546 Piston Engine 178-6546 Ring 9T6857 Pump Group Piston Cylinder Liner 9T-6857
1850232 Piston Engine 185-0232 Ring 9T8346 Pump Group Piston Cylinder Liner 9T-8346
1884216 Piston Engine 188-4216 Ring 9T8346 Pump Group Piston Cylinder Liner 9T-8346
1902279 Pump G Engine 190-2279 Ring 9T8647 Pump Group Piston Cylinder Liner 9T-8647
1915603 Piston Engine 191-5603 Ring 9T8647 Pump Group Piston Cylinder Liner 9T-8647
1915709 Piston Engine 191-5709 Ring 9T9912 Pump Group Piston Cylinder Liner 9T-9912
1922209 Body A Engine 192-2209 Ring 9T9912 Pump Group Piston Cylinder Liner 9T-9912
1979335 Pin As Engine 197-9335 Ring Rs3406E1 Ring Set Piston Cylinder Liner 34-0600
1990706 Piston Engine 199-0706 Ring Rs3406E2 Ring Set Piston Cylinder Liner 34-0600
2131152 Piston Engine 213-1152 Ring Rs4P2654 Ring Set Piston Cylinder Liner 4P-2654
1902279 Pump G Engine 190-2279 Ring 9T8647 Pump Group Piston Cylinder Liner 9T-8647



China 1902279 Pump G Engine 190-2279 Ring 9T8647 Pump Group Piston Cylinder Liner 9T-8647 wholesale

1902279 Pump G Engine 190-2279 Ring 9T8647 Pump Group Piston Cylinder Liner 9T-8647 Images

Inquiry Cart 0
Send your message to this supplier
 
*From:
*To: Guangzhou Tianhe District Zhuji Fengtu Mechanical Equipment Sales Department
*Subject:
*Message:
Characters Remaining: (0/3000)